MG손해보험 NEW아이조아 어린이보험 보장내용 혜택 보험료 조회방법 알아보기
- 카테고리 없음
- 2024. 2. 25. 19:20
MG손해보험 NEW아이조아 어린이보험 보장내용 혜택 보험료 조회방법 등 MG손해보험의 어린이보험에 대해 알아보겠습니다. 린이보험은 아이들의 건강과 안전을 위해 많은 부모님이 선택하는 보험입니다. 하지만 어린이보험을 가입할 때에는 몇 가지 주의사항을 알아두어야 합니다. 같이 알아볼게요.

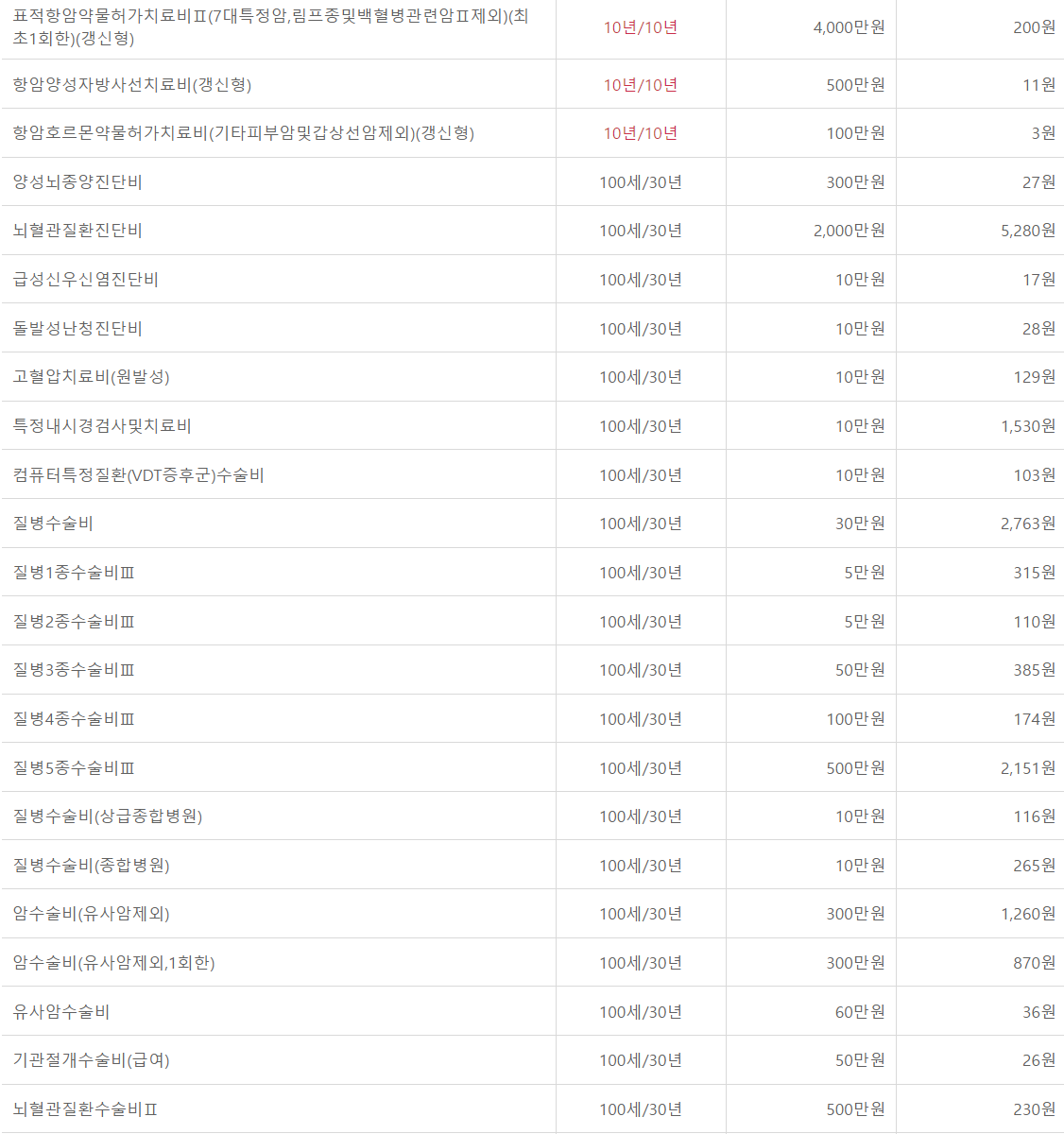
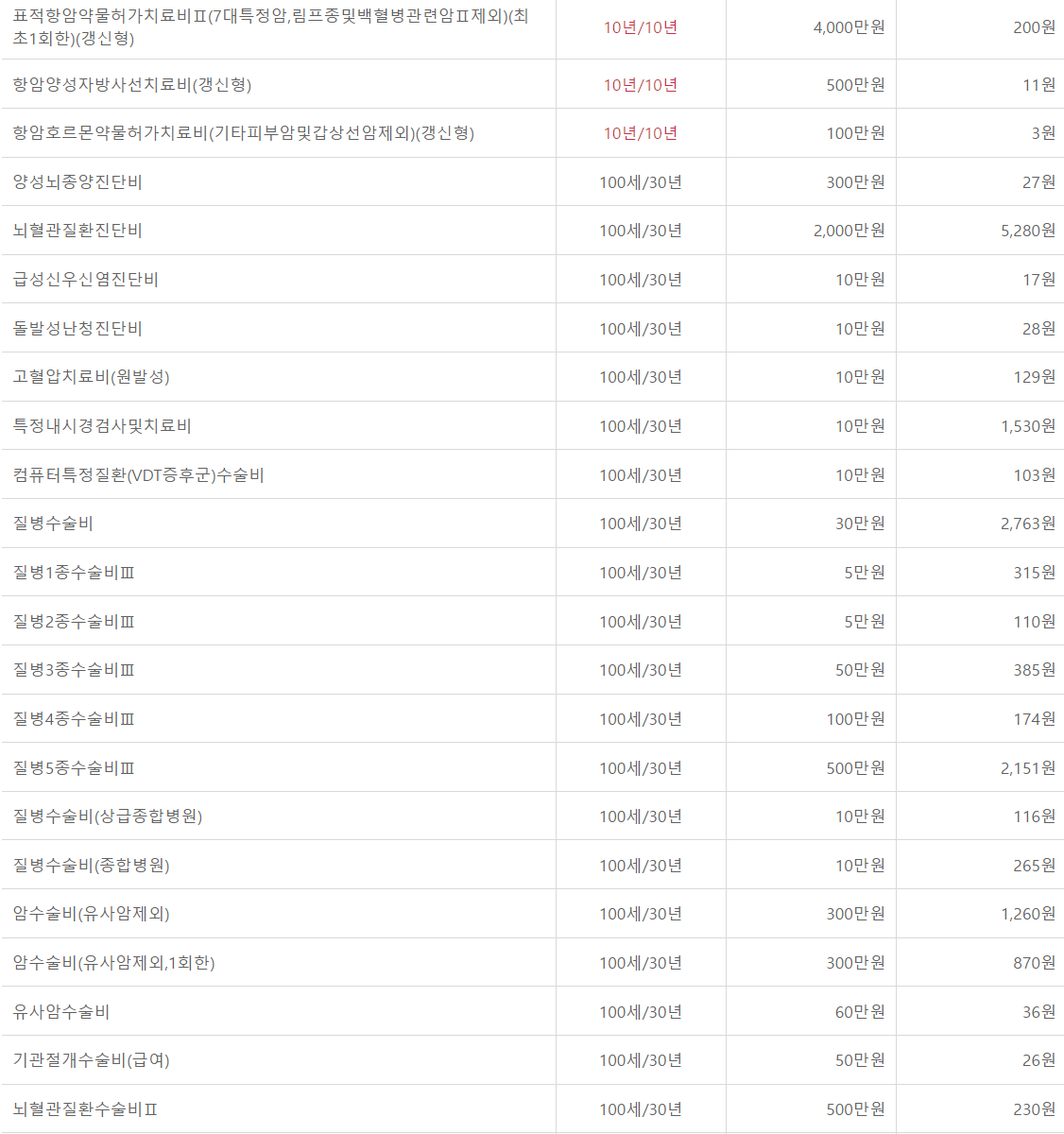
MG손해보험 어린이보험 보장내용


선택특약은 상해 및 질병관련 특약, 부양자, 배상책임 특약 등 다양한 특약이 있습니다.




혜택






보험료 조회방법
가입예시






어린이보험 가입 시 주의사항
1. 보장내용과 보험료를 비교하세요.
어린이보험은 다양한 종류와 항목이 있습니다. 예를 들어, 질병, 상해, 수술, 입원, 치료비 등을 보장하는 보험도 있고, 사망, 장애, 특별수술 등을 보장하는 보험도 있습니다. 또한, 보험료도 보험사마다 다르게 책정됩니다. 따라서, 어린이보험을 가입하기 전에는 여러 보험사의 보장내용과 보험료를 비교하고, 자신의 아이에게 필요한 보장항목과 적정한 보험료를 선택하는 것이 중요합니다.
2. 납입기간과 만기일을 확인하세요.
어린이보험은 일반적으로 20세나 30세까지 납입하고, 만기일에는 일정액의 만기금을 받는 형태입니다. 하지만, 납입기간과 만기일은 보험사마다 다르게 설정될 수 있으므로, 가입하기 전에는 반드시 확인해야 합니다. 또한, 납입기간 동안에는 중도해지나 전환 등의 옵션도 제한될 수 있으므로, 장기적인 계획을 세우고 결정하는 것이 좋습니다.
3. 청약서와 약관을 꼼꼼히 읽으세요.
어린이보험을 가입할 때에는 청약서와 약관을 꼼꼼히 읽고 이해하는 것이 매우 중요합니다. 청약서에는 보험계약의 내용과 조건이 기재되어 있으므로, 오류나 누락이 없는지 확인해야 합니다. 약관에는 보험금 지급의 요건과 제외사항 등이 명시되어 있으므로, 실제로 보험이 적용되는 범위와 한계를 파악해야 합니다. 만약 청약서나 약관에 이해가 안 되거나 동의가 안 되는 부분이 있다면, 보험사나 전문가에게 상담하거나 다른 보험으로 바꾸는 것도 고려해야 합니다.
어린이보험은 아이들의 미래를 위한 중요한 투자입니다. 그러나 어린이보험을 가입할 때에는 위에서 언급한 3가지 주의사항을 잊지 말고 꼼꼼히 검토하고 결정하시기 바랍니다.